Studzienka rewizyjna - jakie ma rodzaje i zastosowanie?

Studzienki rewizyjne są niezwykle istotnym podziemnych sieci kanalizacyjnych Odgrywają one kluczową rolę w utrzymaniu sprawnego funkcjonowania sieci odprowadzania wód deszczowych i ścieków kanalizacji sanitarnej, deszczowej, ogólnospławnej jak równie

    Data publikacji: 16.09.2023

    Studzienki rewizyjne są niezwykle istotnym podziemnych sieci kanalizacyjnych Odgrywają one kluczową rolę w utrzymaniu sprawnego funkcjonowania sieci odprowadzania wód deszczowych i ścieków kanalizacji sanitarnej, deszczowej, ogólnospławnej jak również drenażowej. Stanowią one ważny element systemu drenażowego. 

    Ich wszechstronne zastosowanie oraz wymagania budowy sieci wymagają dużej różnorodności czynią studzienki rewizyjne niezbędnym elementem dla utrzymania infrastruktury w doskonałej kondycji. Jakie są zastosowania i funkcje studzienek rewizyjnych? Dlaczego wyróżniamy wiele rodzajów takich studzienek? Na te i inne pytania dotyczące studzienek rewizyjnych odpowiadamy w naszym artykule!

    Czym jest studzienka rewizyjna?

    Studzienki kanalizacyjne są niezbędnym elementem uzbrojenia sieci kanalizacyjnych. Służą do eksploatacji sieci kanalizacyjnych z poziomu nawierzchni (studzienki inspekcyjne) lub umożliwiają obsłudze dostęp do nich (studzienki włazowe). Wraz z  rurami kanalizacyjnymi tworzą spójne systemy kanalizacji grawitacyjnej (sanitarnej, deszczowej i ogólnospławnej). Stanowią także uzupełnienie systemów drenarskich.

    Zgodnie z zasadami studzienki umieszczane są w systemach kanalizacji grawitacyjnej w węzłach kanalizacyjnych - na zmianach kierunku przepływu sieci (kątowe) lub w miejscach łączenia kanałów i przykanalików (połączeniowe lub zbiorcze). Powinny też być umieszczane co kilkadziesiąt metrów na długich kanałach i w miejscach zmiany średnic oraz zmiany spadku kanału.

    Oprócz studzienek z kinetami wyprofilowanymi kształtującymi drogi kierunki przepływu ścieków w sieciach występują też studzienki specjalnego przeznaczenia np.. studzienki rozprężne do włączenia przewodów ciśnieniowych do kanału grawitacyjnego, kaskadowe do pokonywania przez kanał znacznym zmian głębokości, a także komory - podziemne obudowy osprzętu np. klap i zasuw. W sieciach odwodnieniowych i kanalizacji deszczowej oraz z drenażach stosuje się z kolei studzienki osadnikowe. Jeszcze inne funkcjonalności mają studzienki w zastosowaniach przemysłowych i rolniczych (np. studzienki schładzające czy bezodpływowe) .

    Studzienki rewizyjne mogą być wykonane z różnych materiałow - głównie z betonu lub  tworzyw sztucznych, rzadziej z polimerobetonu, żelbetu lub GRP. Ich kształt może być okrągły, prostokątny lub inny, w zależności od ich konkretnego zastosowania i wymagań projektowych. Studzienki są zaprojektowane tak, aby można było bezpiecznie zejść do wnętrza, gdzie personel konserwacyjny lub techniczny może przeprowadzić niezbędne działania.

    Zastosowanie i funkcje studzienek rewizyjnych

    Jedną z głównych funkcji studzienek jest umożliwienie inspekcji, dzięki której można ocenić stan rur, kanałów, odpływów i innych elementów systemu kanalizacyjnego. Dzięki temu można wykryć ewentualne uszkodzenia, zatory, korozję, nieszczelności, stan zamontowania stopni i drabin lub inne problemy, co pozwala uniknąć poważniejszych awarii. Ponadto, studzienki rewizyjne ułatwiają skuteczne i efektywne czyszczenie sieci kanalizacyjnej.

    Nagromadzone osady, kamienie, piasek i inne zanieczyszczenia mogą być łatwo usuwane, co zapobiega blokadom i zapewnia sprawną pracę systemu. 
    Studzienki stanowią również punkty dostępowe do przeprowadzenia prac konserwacyjnych i naprawczych. Personel techniczny może przeprowadzać różnorodne działania, takie jak naprawy, wymiana elementów czy usunięcie usterek, co wpływa pozytywnie na trwałość i sprawność infrastruktury. Dodatkowo, studzienki rewizyjne są kluczowym elementem przy planowaniu modyfikacji lub rozbudowy systemu kanalizacyjnego.

    Umożliwiają dostęp do istniejących przewodów, rurociągów lub kanałów, co ułatwia integrację nowych odcinków i zapewnia właściwą konfigurację sieci.

    Studzienki rewizyjne pozwalają na obserwację przepływu w kanale i jednocześnie pozwalają na pełen dostęp do kanalizacyjnych. Z tego też powodu studzienka stanowi ważny element każdego systemu kanalizacji. Taka studzienka umieszczana jest tam, gdzie znajduje się potencjalnie trudny odcinek przewodu kanalizacyjnego. Umieszczenie jej pomiędzy tymi potencjalnie niebezpiecznymi miejscami pozwoli na dokładną inspekcję i szybkie usunięcie ewentualnej awarii.

    Rodzaje studzienek rewizyjnych

    Studnia rewizyjna to stały element instalacji kanalizacyjnej. Ze względu na wielkość i warunki dostępu  studzienki rewizyjne dzielimy na:

    1. Studzienki włazowe z dostępem do czyszczenia i kontroli przez obsługę
      Studzienki włazowe, w których przeprowadzane są wszystkie prace konserwacyjne, z dostępem dla obsługi, (powinny mieć wewnętrzną średnicę (ID>=1000)
    2. Studzienki włazowe z dostępem do czyszczenia i kontroli przez obsługę tylko w wyjątkowych sytuacjach
      Studzienki włazowe do wprowadzania sprzętu czyszczącego, wyposażenia kontrolnego i badawczego, z okazjonalną możliwością wejścia człowieka wyposażonego w uprząż, powinny mieć wewnętrzną średnicę (800=<ID<1000)
    3. Studzienki niewłazowe (ID <800) do eksploatacji za pomoca sprzętu z poziomu nawierzchni.
    4. Komory kanalizacyjne  (podziemne konstrukcje projektowane indywidualnie zwykle dla kanałów przełazowych)
      1-3 są wykonywane z elementów prefabrykowanych głównie z betonu i tworzyw termoplastycznych. 
      Pozycja 4 podlega zwykle projektowaniu indywidualnemu. 

    Poznaj ofertę:studzienek kanalizacyjnych Wavin Tegra

    Studzienka rewizyjna niewłazowa

    Jak sama nazwa wskazuje, te niewielkie studzienki wykonane często z tworzyw sztucznych, nie pozwalają na wejście do środka. Ich głównym zadaniem jest umożliwienie obserwowania przepływu w kanale. Warto dodać, że zwykle kontrole przeprowadzane w takich studzienkach odbywają się za pomocą specjalnych narzędzi. Niewłazowe studzienki rewizyjne występują w czterech wymiarach, takich jak:  ID 315, OD400, ID 425, ID 600. Warto dodać że takie studzienki posiadają także funkcję wentylacji. Pozwala ona na dostęp powszechnie dostępnym przez eksploatatorów sprzętem eksploatacyjnym z poziomu nawierzchni

    Studzienka rewizyjna połączeniowa

    Ten rodzaj studzienki rewizyjnej umieszczany jest w miejscu, w którym łączy się dwa kanały w jeden. Wykorzystywana jest ona w liniach kanalizacyjnych o dużej przepustowości, gdzie płynność przepływu jest kluczowa.

    Podsumowując, rodzaje studzienek rewizyjnych są dobierane w zależności od specyficznych wymagań danej lokalizacji i funkcji, jakie mają spełniać w sieci kanalizacyjnej. Odpowiednio dobrana studzienka rewizyjna pozwala na efektywną kontrolę i utrzymanie infrastruktury kanalizacyjnej w doskonałej kondycji. W ofercie Wavin dostępne są studzienki włazowe o średnicy 1000 mm oraz studzienki inspekcyjne (niewłazowe) o średnicach: 315, 400, 425 i 600 mm.

    Dobór studzienek kanalizacyjnych

    Jako systemowe wyposażenie sieci kanalizacyjnych wykonanych z systemów przewodów rurowych z termoplastycznych tworzyw sztucznych należy dobierać studzienki włazowe i inspekcyjne z termoplastycznych tworzyw sztucznych. Wymagania użytkowe, właściwości mechaniczne oraz obszar zastosowania studzienek z termoplastycznych tworzyw sztucznych deklaruje producent w oparciu o badania wg PN-EN 13598-2 lub PN-EN 13598-1.

    UWAGA Studzienki z termoplastycznych tworzyw sztucznych mogą być łączone z przewodami kanalizacyjnymi z innych materiałów za pomocą adapterów przejściowych. Dobór studzienek z termoplastycznych tworzyw sztucznych powinien obejmować określenie:

    • wewnętrznej średnicy studzienki;
    • właściwości mechanicznych kinety zgodnie z PN-EN 13598-2
    • sztywności obwodowej trzonu studzienki,
    • wyposażenia studzienki włazowej w stopnie lub drabinki;
    • klas i rozwiązania zwieńczenia;
    • typów kinet w zależności od przewidywanych węzłów kanalizacyjnych oraz
    • sposób wykonania połączeń z rurami kanalizacyjnymi. 

    W celu zdefiniowania obszaru zastosowania należy podać następujące dane:

    • maksymalną głębokość posadowienia studzienki;
    • maksymalną dopuszczalną głębokość wód gruntowych powyżej dna kanału;
    • dopuszczalne obciążenie ruchem kołowym;
    • zastosowanie pod konstrukcją budynku UD lub poza konstrukcją budynku U. 

    Zadaniem użytkownika jest sprawdzenie czy zamierzone zastosowanie studzienki jest zgodne z obszarem zastosowania deklarowanym przez producenta. Ze względów eksploatacyjnych minimalną średnicę wewnętrzną z uwzględnieniem ewentualnych przewężeń np. w części teleskopowej, powinien określać użytkownik.

    Kryteria doboru części składowych

    Kineta w dolnej części do wysokości połowy kanału powinna mieć przekrój zgodny z przekrojem kanału odpływowego, chyba że projekt przewiduje inaczej.

    UWAGA 1 Określona we właściwościach mechanicznych kinet maksymalna dopuszczalna głębokość wód gruntowych powyżej dna kanału nie jest równoznaczna z odpornością studzienki na wypieranie przez wody gruntowe. W przypadku wysokiego poziomu wody gruntowej należy uwzględnić siłę wyporu i rozpatrzyć konieczność dodatkowego zakotwienia studzienki. Sposoby zabezpieczenia studzienek z termoplastycznych tworzyw sztucznych przed wyporem powinien określić producent. Dla studzienek włazowych głębszych niż 3 m należy stosować kominy włazowe o średnicy od 800 mm do 1 000 mm.

    UWAGA 2 Głębokie studzienki włazowe o średnicy 1 000 mm na całej głębokości spełniają powyższy warunek dla komina włazowego.
    Ogólne właściwości studzienek z termoplastycznych tworzyw sztucznych.

    Klasyfikacja studzienek kanalizacyjnych

    Do klasyfikacji wymiaru nominalnego studzienek włazowych i inspekcyjnych wykorzystuje się średnicę wewnętrzna trzonu wznoszącego.

    Wymiary trzonów wznoszących studzienek włazowych i inspekcyjnych oraz wymiary i typy króćców połączeniowych w kinecie studzienki są zadeklarowane przez producenta.W rozwiązaniach studzienek z termoplastycznych tworzyw sztucznych zgodnie z PN-EN 13598-1 wydzielono dodatkowo, w stosunku do PN-EN 476, płytkie studzienki inspekcyjne o minimalnej średnicy zewnętrznej trzonu 200 milimetrów i maksymalnej średnicy mniejszej niż 800 mm oraz głębokości maksymalnej 1 250 mm zgodne z Rysunkiem E.1 i przeznaczone dla obszarów nieobciążonych ruchem kołowym.Wymiary studzienek włazowych z dostępem dla personelu są zgodne z wymaganiami bezpieczeństwa podanymi dla miejsca montażu.

    Wysokość komory roboczej nie powinna być mniejsza niż 1 800 mm.Decyzją użytkownika dopuszcza się określenie większych wymiarów minimalnych, np. dotyczących dostępu.Decyzją użytkownika dopuszcza się rezygnację z wyposażenia studzienek o średnicy > 800 mm w zamontowane na stałe stopnie lub drabinki i wybór własnych procedur i środków, które zapewnią wymagany poziom bezpieczeństwa i ochrony zdrowia pracowników oraz spełnią wymagania przepisów bezpieczeństwa i higieny pracy.

    Zgodnie z zasadami bezpieczeństwa i higieny pracy oraz przewidywanego sposobu eksploatacji studzienki, w studzienkach włazowych, w których nie ma możliwości zapewnienia wszystkich wymagań bezpieczeństwa dopuszcza się odstąpienie od stopni lub drabinek zamontowanych na stałe lub w miarę możliwości zastąpienie studzienek włazowych studzienkami inspekcyjnymi. Przykładami niespełnienia wymagań bezpieczeństwa są studzienki bez spocznika, ze spocznikiem zalanym, z komorą roboczą o wysokości mniejszej niż 1 800 mm.

    Z uwagi na właściwości podane w Załączniku A, studzienki z termoplastycznych tworzyw sztucznych powinno się stosować w sieciach kanalizacyjnych eksploatowanych w szczególnych warunkach, takich jak:

    • warunki korozyjne, tj. przy występowaniu wysokich stężeń siarkowodoru (H2S) (np. studzienkach rozprężnych i sąsiadujących z nimi) czy odprowadzających ścieki odprowadzane z pieców kondensacyjnych;
    • zagrożenie ścieraniem (np. na dużych spadkach rurociągów z sieciach kanalizacyjnych);
    • wysoki poziom wody gruntowej i zagrożenie sieci kanalizacyjnej nieszczelnościami;
    • strefy ochrony ujęć wody lub innych obszarach chronionych przed skażeniem gruntu.

    Z uwagi na małą masę i znikome obciążenie dla podłoża studzienki z termoplastycznych tworzyw sztucznych powinny być stosowane również wszędzie tam, gdzie istnieje możliwość osiadania, np. w gruntach słabonośnych, lub gdzie występują trudności z wzmocnieniem lub wymianą gruntów. Studzienki inspekcyjne z uwagi na niewielkie wymiary powinny być również stosowane w terenach z gęstym uzbrojeniem podziemnym.

    Części składowe Podstawowe elementy studzienek z termoplastycznych tworzyw sztucznych przedstawia Rysunek 5. Dla przejrzystości rysunku pominięto szczegółowe rozwiązania konstrukcyjne.

    Studzienki kanalizacyjne z termoplastycznych tworzyw sztucznych obejmują następujące części składowe:

    1. Podstawę (zwaną też kinetą), Rysunek E.2, 
      poz. 1 – element zawierający uformowany kanał wraz z ewentualnymi rozgałęzieniami i króćce do bezpośredniego podłączenia rur kanalizacyjnych; 
      UWAGA 1 W PN-EN 16323 kineta stanowi część studzienki włazowej lub inspekcyjnej, którą jest otwarty od góry kanał w podstawie studzienki włazowej lub inspekcyjnej, przez który przepływają ścieki, patrz Rysunek E.2.
    2. Trzon wznoszący, Rysunek E.2, 
      poz. 2 – pionowe przejście pomiędzy podstawą a poziomem bliskim poziomu gruntu, w formie ciągłej rury trzonowej lub łączonych elementów np. pierścieni dystansowych;
    3. Stożek, Rysunek E.2, 
      poz.3 – element zmniejszający średnicę trzonu studzienki do 600 mm, tj. średnicy otworu włazowego;
      UWAGA 2 Stożek nie jest elementem niezbędnym studzienki. Trzon wznoszący i stożek (jeśli występuje) tworzą w studzience włazowej i studzience z okazjonalną możliwość wejścia komorę roboczą. Odległość krawędzi otworu włazowego dla personelu od wewnętrznej powierzchni ściany komory roboczej mierzona w płaszczyźnie pionowej przechodzącej przez oś włazu i komina lub komory roboczej powinna być nie większa niż 120 mm.4. teleskop, Rysunek E.2, poz.
    4. Rury teleskopowe lub teleskopowe adaptery do włazów łączą trzon studzienki ze zwieńczeniem, Rysunek E.2, poz. 5.

    UWAGA 3 Teleskop nie jest elementem niezbędnym studzienki.Stożki, rury teleskopowe, teleskopowe adaptery do włazów, elementy wspierające zwieńczenia usytuowane 1 m od powierzchni są przypowierzchniowymi częściami składowym studzienek. Ich zadaniem jest korekta wysokości studzienki, możliwość powiązania z warstwami konstrukcyjnymi nawierzchni oraz rozłożenie obciążeń od ruchu kołowego na grunt.W studzienkach włazowych montuje się stopnie zgodne z PN-EN 13598-2, PN-EN 13101 lub drabinki zgodne z PN-EN 14396.W skład studzienek wchodzić mogą inne części składowe takie jak uszczelki, manszety zmniejszające średnicę zwykle pomiędzy trzonem wznoszącym a elementem teleskopowym, wkładki „in situ” (łac. w miejscu) do włączenia na budowie rur kanalizacyjnych do trzonu studzienki.

    UWAGA 4 Studzienki z termoplastycznych tworzyw sztucznych mogą być wykonane jako monolityczne, gdy kineta wraz z komorą roboczą jest wykonana w konstrukcji monolitycznej lub jako łączone z elementów. Elementy studzienek mogą być łączone za pomocą połączeń z uszczelkami elastomerowymi lub w wyniku zgrzewania lub spawania. Elementy łącznie tworzące posadowioną w gruncie studzienkę inspekcyjną lub włazową określa się jako zestaw studzienki.

    UWAGA 5 Przewody kanalizacyjne dużych średnic nie wymagają studzienek włazowych. Z uwagi na możliwości techniczne sprzętu kontrolnego i eksploatacyjnego dla przewodów kanalizacyjnych o średnicy DN 400 i większych stosuje się studzienki inspekcyjne oraz studzienki włazowe z okazjonalną możliwością wejścia.

    UWAGA 6 Kominy włazowe studzienek o średnicy od 800 mm do 1 000 mm stosuje się również przy studzienkach o średnicach większej niż 1 000 mm i głębszych niż 3 000 mm.

    UWAGA 7 Podstawy studzienek z termoplastycznych tworzyw sztucznych mogą mieć też formę nie objętą PN-EN 13598 (wszystkie części):

    • kinet „ślepych” do wykonania studzienek osadnikowych lub szczelnych podziemnych zbiorników lub obudów;
    • kinet rozprężnych służących do włączania rurociągów ciśnieniowych do systemów grawitacyjnych;
    • kinet do wytracania energii (np. z lejkiem) do zabudowy na kanalizacji prowadzonej z dużymi spadkami.
    Wymiary studzienek włazowych i studzienek kontrolnych

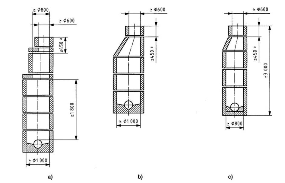
    Wymiary studzienek włazowych z dostępem dla personelu powinny być zgodne z wymaganiami bezpieczeństwa obowiązującymi w miejscu montażu. W razie braku miejscowych regulacji średnica prześwitu otworu włazu powinna być zgodna z EN 124 i powinna być ≥ 600 mm (patrz Rysunek 4). W przypadku studzienek włazowych, w których stopnie lub drabiny są umieszczone podczas produkcji, wymagania obciążenia i metody badań powinny być określone odpowiednio według EN 13101 lub EN 14396.

    Studzienki włazowe z dostępem do czyszczenia i kontroli przez obsługę

    Studzienki włazowe, w których przeprowadzane są wszystkie prace konserwacyjne, z dostępem dla obsługi, powinny mieć wewnętrzną średnicę (ID) i wymiary zgodne z Rysunkiem 4 a) i b) lub nominalny wymiar elementu o przekroju prostokątnym co najmniej 750 mm x 1200 mm, lub elementu o przekroju kwadratowym co najmniej 1000 mm x 1000 mm, lub wymiar nominalny elementu o przekroju eliptycznym 900 mm x 1100 mm lub większy.

    UWAGA  Krajowe lub lokalne regulacje właściwych organów mogą określać większe wymiary minimalne, na przykład dotyczące dostępu.

    Studzienki włazowe z dostępem do czyszczenia i kontroli przez obsługę tylko w wyjątkowych sytuacjach

    Studzienki włazowe do wprowadzania sprzętu czyszczącego, wyposażenia kontrolnego i badawczego, z okazjonalną możliwością wejścia człowieka wyposażonego w uprząż, powinny mieć wewnętrzną średnicę (ID) i wymiary zgodne z Rysunkiem 4 c) lub nominalny wymiar elementu o przekroju prostokątnym co najmniej 750 mm x 1000 mm, lub elementu o przekroju kwadratowym co najmniej  800 mm x 800 mm, lub wymiar nominalny elementu o przekroju eliptycznym 800 mm x 1000 mm lub większy.

    UWAGA  Krajowe lub lokalne regulacje właściwych organów mogą określać większe wymiary minimalne, na przykład dotyczące dostępu.
    Wymiary w milimetrach

    a) Głębokość górnego kręgu 450 mm (zawierającego prostą część zwężki, jeżeli jest zastosowana) jest wymagana w celu umożliwienia zamocowania pierwszego stopnia lub szczebla drabiny tak, aby był dostępny. Dla osadników gnilnych lub separatorów wymiar ten może być powiększony do 600 mm.

    Studzienki kontrolne

    Studzienki kontrolne o wymiarach DN/ID mniejszych niż 800 mm umożliwiają wprowadzenie wyposażenia do czyszczenia, kontroli i badania, ale nie jest w nich przewidziane wejście personelu